New Holland L255 Skid Steer Loader Master Parts Manual

This Is The Complete Illustrated Master Parts List Manual For New Holland Model L255 Skid Steer Loader.
This Parts Catalog Book Contains Detailed Parts Explosions, Exploded Views, And Breakdowns Of All Part Numbers For All Aspects Of These L255 New Holland Skid Steer Loaders, Including Detailed Engine Parts Breakdowns.
- Illustrated Parts List Manual For New Holland Model L255 Skid Steer Loader
133-Pages
This Model L255 Illustrated Parts List Book Covers These Areas Of The Machine:
000 Recommend Stocking List
001 Main Frame
004 Seat, Asn 751251 (L255)
005 Pedals & Steering Handles
006 Boom Assembly
007 Boom Lock Assembly
008 Boom And Bucket Cylinder Hydraulics
009 Bucket Cylinder Assembly
010 Boom Cylinder Assembly
011 Bucket Cutting Edges & Skid Bar
012 Utility Fork Attachments
013 Transmission, Motor And Gear Pump Hydraulics
014 Filter Hydraulics
015 Boom Cylinder Hydraulics
016 Control Valve Hydraulics
017 Control Valve Assembly – Dukes Fluid Power
019 Gear Pump Assembly
020 Solenoid Valve Assembly
021 Boom Hydraulics Kit
022 Control Valve Assembly And Boom Hydraulics Kit
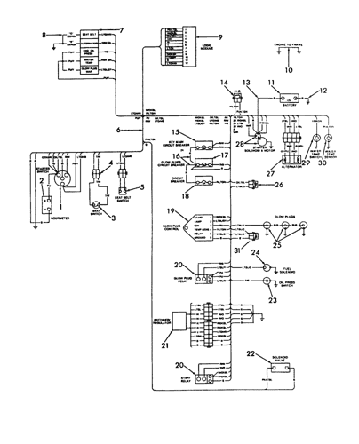
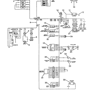
025 Electrical Schematic, L255
026 Optional Light Kits (Old-Style) & Horn Kits
026A Optional Light Kit, New Style
026B Optional Horn Kit
028 Engine Controls
060 Engine Attaching Parts & Radiator, L255
061 Engine Attaching Parts, Air Cleaner, Radiator Hoses, Fuel Filter & Lines, L255
062 Cylinder Block, L-255 Diesel
063 Cylinder Head, L-255
064 Crankshaft And Piston, L-255
065 Camshaft, L-255
066 Oil Pump, Water Pump And Alternator Mounting, L-255
067 Timing Gear Case And Governor, L-255
068 Fuel Lines And Related Parts, L-255
069 Injection Pump Assembly, L-255
070 Injector Assembly, L-255
071 Muffler, L-255
072 Starting Motor Assembly, Old Style, L-255
072A Starting Motor Assembly, New Style, L255
073 Alternator Assembly, L-255
074 Accessory Parts, L-255
075 Piston Pump Assembly
077 Motor, L255 & Asn 729749 (L250)
078 Final Drive
079 Parking Brake (Asn 751251)
080 Decals
081 Decals, Fiat Hitachi – Sl25
New Holland L255 Skid Steer Loader Master Parts Manual
This Manual Is Indexed, And Divided Into The Following Sections For Fast Navigation:
Full Machine Text Index
How To Use Figure Search
General Information – Abbreviations
General Information – Metric To Inches Conversion
For Do It Yourself Tractor Parts Lookup, Parts Manuals Are Key To Viewing How Everything Goes Together. Parts List Exploded Views Will Also Assist You In Servicing, Rebuilding, Teardowns, Overhauls, Repairs, And Adjustments. Easy To Read Exploded Views To Make Easy Part Number Identification, Accurate Ordering, And Ultimately Correct Repairs. This Manual Contains All The Original Parts Information You Need To Properly Lookup Correct Part Numbers For The Entire Machine Including Engine Parts.
This Is Exactly Like The Original Manual Made For These New Holland Model L255 Skid Steer Loaders; The Only Difference Is This One Is Not Paper, And Doesnt Need To Be Shipped. No Wasted Time Waiting For A Paper Book Or Cd To Arrive In The Mail. You Get It Right Away! Zoom It, Print It, Save It, Close It. Print A Few Pages At A Time, As You Need; No Need To Lug That Bulky Binder Around Anymore.
New Holland L255 Skid Steer Loader Master Parts Manual













