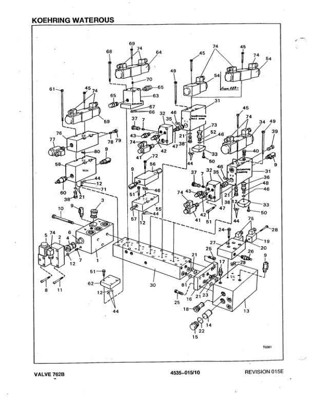
Koehring 746B Standard Felling Heads Parts Manual
(SN 1305-1327 & 0012-0508) Parts Catalog Manual – WC701391400
the Koehring 746B Standard Felling Head
The Koehring 746B Standard Felling Head, a pivotal attachment in modern forestry operations, is engineered for efficiency and durability. To maintain its optimal performance, a detailed understanding of its components is essential. This comprehensive parts catalog serves as an invaluable resource for operators and maintenance personnel.
Importance of Accurate Part Identification
Ensuring the longevity and efficiency of the 746B Standard Felling Head necessitates precise identification of its components. The parts catalog provides meticulously reviewed part numbers accurate as of the publication date. However, to guarantee compatibility and optimal performance, we strongly recommend verifying each part number with your local John Deere dealer before placing an order. This proactive approach helps prevent potential downtime and ensures the acquisition of correct components tailored to your specific model.
The Catalog ID: WC701391400 covers part numbers for Koehring 746B Standard Felling Heads it were meticulously reviewed and accurate as of the date of publication. To ensure you receive the exact components suited to your machinery, we highly recommend verifying each part number with your local John Deere dealer before placing your order. This extra step guarantees that you get the correct part for your specific model, preventing downtime and maximizing performance.











